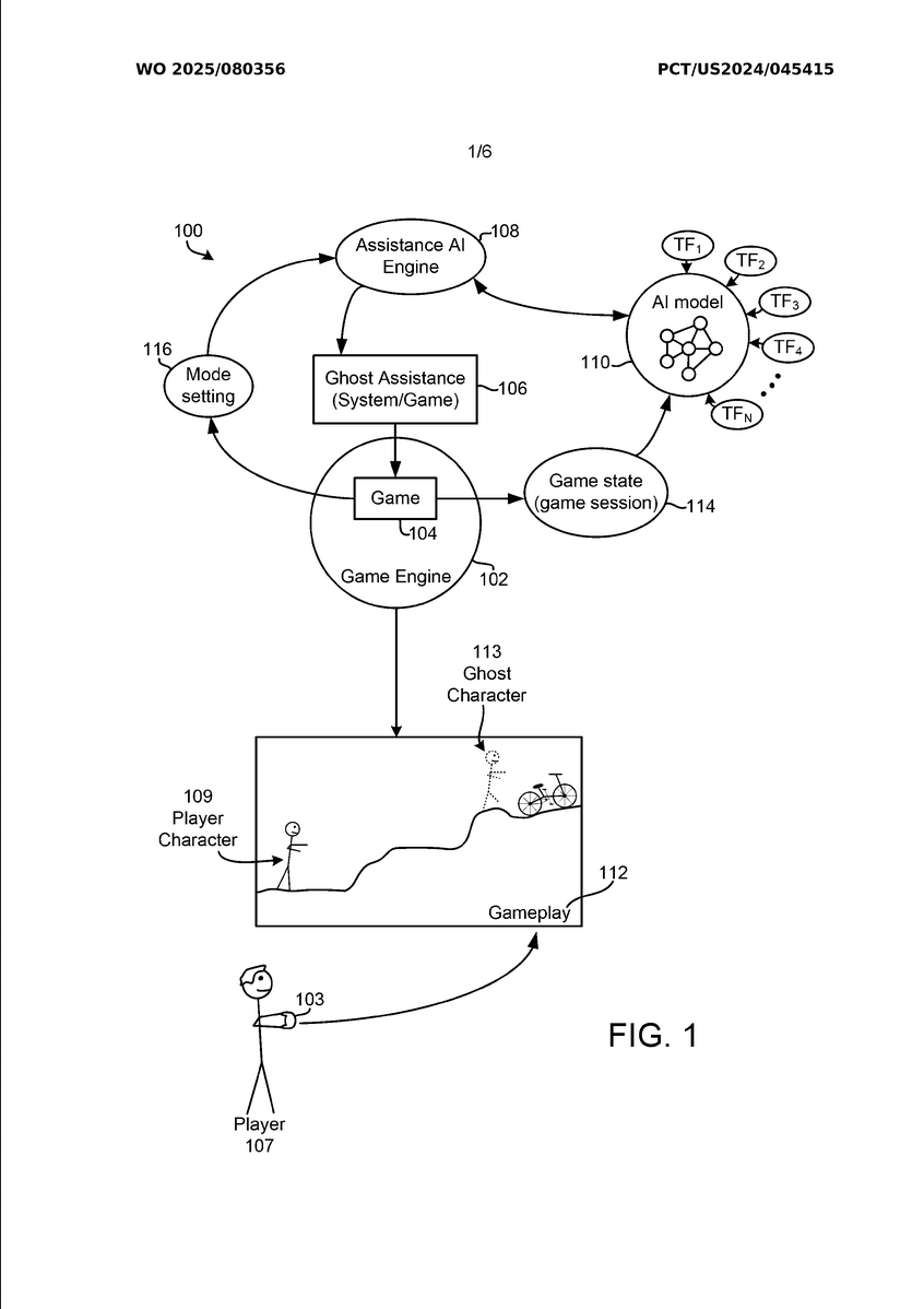
Sony baru saja mengajukan paten baru yang mengindikasikan rencana penggunaan AI di PlayStation untuk membantu pemain yang kesulitan saat bermain game. Dalam dokumen paten tersebut, Sony menjelaskan konsep asisten berbasis AI yang bisa muncul ketika pemain benar-benar mentok. Fitur ini disebut sebagai AI Generated Ghost Player dan digambarkan lewat berbagai diagram teknis di dokumen patennya.
Secara konsep, AI ini akan menghadirkan karakter “ghost” yang dibuat berdasarkan data dan rekaman permainan sebelumnya. Sistemnya dilatih untuk mengenali situasi tertentu di dalam game, lalu memberi bantuan yang relevan sesuai konteks yang sedang dihadapi pemain. Saat diaktifkan, karakter ghost ini bisa menunjukkan langkah atau aksi yang perlu dilakukan agar pemain bisa melewati bagian game yang sulit.

Menariknya, tingkat bantuan dari AI ini bisa diatur sesuai kebutuhan. Mulai dari sekadar petunjuk sederhana tentang apa yang harus dilakukan, sampai panduan lengkap yang memperlihatkan input tombol rumit atau gaya bermain tertentu. Pemain juga disebut bisa meminta bantuan lewat bahasa alami, jadi tidak perlu lagi membuka menu panjang atau mencari panduan di luar game.
Dalam dokumen patennya, Sony juga menjelaskan bahwa solusi ghost yang ada sebelumnya dinilai kurang efektif. Biasanya, pemain hanya disuruh mengikuti bayangan permainan orang lain tanpa konteks yang sesuai dengan kondisi mereka sendiri. Akibatnya, bantuan tersebut sering kali terasa tidak relevan dan tidak membantu secara real time.

Meski terdengar menjanjikan, penerapan fitur ini masih menyisakan tanda tanya, terutama soal hardware. Konsol seperti PlayStation 5 standar tidak memiliki unit pemrosesan AI khusus seperti NPU. Berbeda dengan PlayStation 5 Pro yang sudah dibekali kemampuan AI untuk fitur seperti PSSR, sehingga lebih masuk akal untuk menjalankan sistem semacam ini.
Seperti banyak paten lainnya, belum tentu fitur ini benar-benar akan dipakai dalam waktu dekat. Bisa saja ini hanya gambaran ide jangka panjang Sony untuk konsol generasi berikutnya. Namun jika benar diwujudkan, AI assist semacam ini berpotensi jadi fitur besar yang mengubah cara pemain menghadapi tantangan di game, tanpa harus keluar dari pengalaman bermain itu sendiri.
Pastikan untuk mengikuti perkembangan berita game lainnya di Gamerwk.
@gamerwk_id
Artikel ini Rangkuman Dari Berita : https://gamerwk.com/playstation-patenkan-fitur-ai-assist-untuk-pemain-yang-kesulitan-di-game/